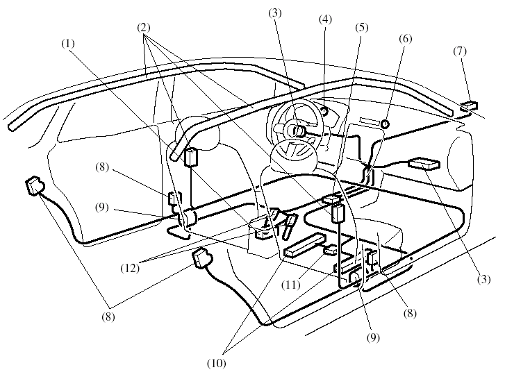
Supplemental Restraint System Components

(1) Driver seat slide position sensor.
(2) Side and curtain inflators and air bags.
(3) Driver/Front passenger dual stage inflators and air bags.
(4) Air bag/front seat belt pretensioner system warning light.
(5) Crash and roll-over sensors, and diagnostic module (SAS unit).
(6) Front passenger air bag deactivation indicator light.
(7) Front air bag sensor.
(8) Side crash sensor.
(9) Front seat belt pretensioner and load limiting systems.
(10) Front passenger seat weight sensors.
(11) Front passenger seat weight sensor control module.
(12) Driver and front passenger seat belt buckle switches.
See also:
Brake System
qFoot Brake
Your Mazda has power-assisted brakes
that adjust automatically through normal
use.
Should power-assist fail, you can stop by
applying greater force than normal to the
brake pedal. Bu ...
Competing for Space
The interior is well-engineered and well-executed, but there's no avoiding
the fact that there are six seats in a relatively small space. This isn't
uncommon, but many models sacrifice space in ju ...
Registering Your Vehicle in A Foreign Country (Except United States and
Canada)
Government regulations in your country could require that automobiles meet
specific
emission and safety standards.
Vehicles built for your country may differ from those built for other countries. ...


