Mirrors
qOutside Mirrors
Check the mirror angles before driving.
Mirror type
Flat type (driver's side).
Flat surface mirror.
Convex type (passenger side).
The mirror has single curvature on its surface.
WARNING:
Be sure to look over your shoulder
before changing lanes:
Changing lanes without taking into
account the actual distance of the
vehicle in the convex mirror is
dangerous. You could have a serious
accident. What you see in the convex
mirror is closer than it appears.
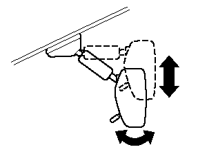
Power mirror
The ignition switch must be in the ACC or ON position.
To adjust:
1. Press the left or right side of the
selector switch to choose the left or
right side mirror.

2. Depress the mirror switch in the appropriate direction.
After adjusting the mirror, lock the control by placing the selector switch in the middle position.
Folding the mirror

Fold the outside mirror rearward until it is flush with the vehicle.
WARNING:
Always return the outside mirrors to
the driving position before you start
driving:
Driving with the outside mirrors
folded in is dangerous. Your rear view
will be restricted, and you could have
an accident.
Rearview Mirror
WARNING:
Do not stack cargo or objects higher
than the seatbacks:
Cargo stacked higher than the
seatbacks is dangerous. It can block
your view in the rearview mirror,
which might cause you to hit another
car when changing lanes.
Rearview mirror adjustment
Before driving, adjust the rearview mirror to center on the scene through the rear window.

Manual day/night mirror

Auto-dimming mirror
NOTE:
For the manual day/night mirror, perform the
adjustment with the day/night lever in the day
position.
Reducing glare from headlights
Manual day/night mirror

Push the day/night lever forward for day driving. Pull it back to reduce glare of headlights from cars at the rear.
Auto-dimming mirror
The auto-dimming mirror automatically reduces glare of headlights from cars at the rear when the ignition switch is in the ON position.

Press the OFF button ( ) to cancel the automatic dimming function. The indicator light will turn off.
To reactivate the automatic dimming function, press the ON button ( ). The indicator light will illuminate.

NOTE:
- Do not use glass cleaner or suspend objects
on or around the light sensor. Otherwise,
light sensor sensitivity will be affected and
may not operate normally.

- For information regarding the 3 buttons ( , , ) on the auto-dimming mirror, refer to HomeLink Wireless Control System.
See also:
Tiedown Hooks
CAUTION.
Don't use the tiedown hooks under
the front and rear for towing.
They are designed ONLY for tying
down the vehicle when it's being
transported. Using them for towing
will damage the bum ...
Cabin environment - sense of oneness between car and driver
Aboard the all-new Mazda 3 is a new Human Machine Interface that contributes
to the sense of oneness between the car and driver. The cabin interior is
designed to allow the driver to concentrate o ...
Installing Child-Restraint Systems
Accident statistics reveal that a child is
safer in the rear seat. The front passenger's
seat is clearly the worst choice for any
child under 12, and with rear-facing childrestraint
systems it is ...


